Реактор Росси холодный термояд - что имеем в дейст
http://www.membrana.ru/particle/15643
Поясним, что вход – это электричество из розетки, а выход – тепловая энергия. В данной установке она шла на испарение воды, регулярно поставляемой в систему охлаждения реактора точным насосом (технические моменты, впрочем, подробно не освещаются).
Количество превращённой в сухой пар H2O и служило мерилом производительности (вода на входе была комнатной температуры). По всему получалось, что производство энергии тут многократно выше затрат: в пределе, якобы, реактор выдавал до 15 «тепловых» киловатт при 400 «электрических» ваттах на входе. (В видеоролике ниже равномерный стук выдаёт тот самый дозатор воды.)
В общих чертах работает этот аппарат так. В металлическую трубку с электрическим подогревателем помещаются нанопорошок никеля и обычный (лёгкий) изотоп водорода под давлением до 80 атмосфер. При первоначальном нагреве до высокой температуры (сотни градусов), в интерпретации итальянцев, часть молекул H2 разделяется на атомарный водород, далее тот вступает в ядерную реакцию с никелем.
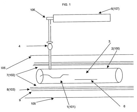
http://www.membrana.ru/storage/img/q/qw5.jpg
Рисунок из патента. Здесь мы видим металлическую трубку (2) с многослойной изоляцией (7-9), включающей слои воды, бора, свинца и стали. Внутри трубки находятся электрический нагреватель (1) и мелкодисперсный никелевый порошок (3). Водород (5) подаётся из баллона в трубку через клапан (4), который регулирует давление (иллюстрация с сайта wipo.int).
Сначала разберёмся с теплотой. Природа теплоты изложена мною здесь:
http://www.membrana.ru/particle/18914
Цитата:"Если создать материал, для современной науки это не проблема, который будет пропускать излучение только в одном направлении, то можно получить неиссякаемый источник энергии. Для этого будет достаточно изолировать таким материалом трубу с таким расчётом, чтобы излучение беспрепятственно проникала в трубу и полностью переизлучалась во внутрь трубы, и пропускать по трубе с помощью насосов воду. Вода будет нагреваться до любой температуры, без затрат газа, угля, урана и прочих материалов. На выходе получим перегретый пар, способный вращать любую электротурбину. Получим практически даровую электроэнергию. Но самое важное-экологически чистое производство электричества. С помощью этого метода можно плавить металл, да и много чего ещё.Вечный источник энергии. Чего и хотело человечество." Конец цитаты.
Что мы и имеем в данном случае, а именно, изоляция зоны нагрева водорода и никеля возвращает обратно значительную часть инфракрасного излучения, что и поддерживает в течении некоторого времени высокую температуру в зоне нагрева, что позволяет получить излишки тепла. Кроме того, смотри ниже о распаде молекул водорода.
Теперь разберёмся с синтезом. Длительный период инфракрасного излучения ослабляет гравитационные поля протонов водорода и никеля. Водород и никель распадаются на атомы, в следствии чего появляются излишки Эфира, что стимулирует более продолжительное инфракрасное излучение, что тоже объясняет излишки теплоты. У протонов ядер атомов никеля, в следствии продолжительного инфракрасного излучения гравитационные поля ослабевают настолько, что теряют способность воспрепятствовать внедрению протонов водорода, что и приводит к синтезу. Так что синтез вполне возможен. Но этот синтез не даёт выхода энергии, а только следствие продолжительного нагрева.
Если другими словами, то в реакторе Росси происходят те же процессы, что и при взрыве взрывчатого вещества. При взрыве ВВ распадаются
на атомы молекулы ВВ, в следствии чего высвобождается Эфир связей атомов в молекулы, который мгновенно излучается, частично переходит в Свет, что и формирует ударную волну. Разница только в одном, излучение не возвращается
к центру взрыва, тем самым "энергия" выплёскивается одноразово и мгновенно.
Реактор Росси устройство позволяющее растянуть во времени взрыв вещества. Этим и обусловлен длительный выброс тепловой "энергии". Реактор Росси аналог атомного реактора:в атомном замедляется реакция распада атомов, у Росси замедляется распад молекул. Поэтому топливо для реактора Росси необходимо проверить на способность к взрыву. Много лет считалось, что аммиачная селитра-удобрение, пока однажды пришлось изменить это мнение.
Выход тепловой энергии даёт длительное инфракрасное излучение+переизлучение в следствии возврата изоляцией излучения.
Свидетельство о публикации №215032800683
